LES MARQUES QUI NOUS FONT CONFIANCE








Le design du barillet
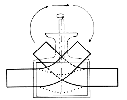
Le concept du barillet à 3 passages illustrés :
Les nombreux angles et restrictions de passage des barillets traditionnels perturbent la colonne d’air. Ils engendrent une émission et un timbre irréguliers et accroissent la résistance de l’émission. Comme le barillet Hagmann ne comporte ni restriction de la colonne d’air, ni d’angles ou de trop petits rayons de cintrage des passages internes, l’émission est donc pleine et facile, très homogène au travers des registres allant du pianissimo au fortissimo.
Depuis les années 70, il y a eu différentes tentatives d’amélioration acoustique du barillet traditionnel. Avec son barillet, René Hagmann rend hommage à un autre passionné, Ed Thayer, pionnier certes, mais dont l’entretien de sa création était perfectible, ne serait-ce qu’en regard à la lubrification complexe due à sa conception.
Les avantages résumés :
Le son est plus plein et plus pur
Celui-ci est plus centré et plus homogène dans tous les registres
l’émission est grandement améliorée
Le jeu est plus facile, moins fatigant, ouvert
Il en résulte une dynamique supérieure, ainsi qu’une meilleure expression
Grâce au barillet René Hagmann, votre futur trombone aura les mêmes performances d’émission et de son qu’un instrument sans circuits de Fa ou/et de Ré.
Les modèles de barillets Hagmann pour trombone
Les modèles pour le trombone ténor
TTB36
Perce générale de 13.5mm, passage de Fa en 13.5mm
TTB42.DB
Perce en Sib de 13.5mm, passage de Fa en 14.0mm
TTB42.138
Perce en Sib de 13.8mm, passage de Fa en 14.0mm
TTB42.140
Perce générale de 14.0mm, passage de Fa en 14.0mm
TTB42.142
Perce générale de 14.2 mm, passage de Fa en 14.0mm
Les modèles pour le trombone basse
Barillet Sib/Fa simple
BTBF.150
Modèle à perce générale de 15.0 mm
BTBF.152
Modèle à perce générale de 15.2 mm
PBBF
Modèle à « perce progressive », perce en en Sib conique de 14.6 à 15.0, circuit de Fa en 15.0mm
TSBF
Modèle « two steps » (deux paliers) perce en Sib cylindrique de 14.8mm, circuit de Fa en 15.0mm
Jeux de Barillets indépendants en ligne
BTBF+BTBDc.150
Notre jeu « classique », perce générale de 15.0mm, une oreille courbe sur la sortie du circuit de Ré.
BTBF+BTBDc.152
Notre jeu « classique », perce générale de 15.2mm, une oreille courbe sur la sortie du circuit de Ré.
BTBF+BTBD.150
Notre jeu « classique », perce générale de 15.0mm, mais sans oreille courbe, convient également pour système dépendant.
BTBF+BTBD.152
Notre jeu « classique », perce générale de 15.2mm, mais sans oreille courbe, convient également pour système dépendant.
PBBF+PBBDc
Jeu de type à « perce progressive », perce conique en passage Sib de 14.6 à 15.6mm. Perce en FA et RE de 15.0mm. Une oreille courbe sur la sortie du circuit de Ré.
TSBF+TSBDc
Jeu du type “two steps”: cylindre de Fa: passage droit en Sib de 14.8mm, oreilles de Fa en 15.0mm, cylindre de Ré : passage droit en Sib de 15.2mm, oreilles de Ré en15.0mm. Une oreille courbe sur la sortie du circuit de Ré.














Procédez de la façon suivante :